Aula ao Vivo: Áreas das Principais Figuras Planas
Confira uma aula sobre Áreas das Principais Figuras Planas, assunto que -com certeza-, vai cair no seu vestibular! 🙂
Os professores PC Sampaio e Alex Amaral estarão te esperando na Aula ao Vivo para te ensinar tudo sobre esse assunto, não perca! 🙂
Para saber os dias e horários e baixar o material de apoio, é só continuar lendo esse post! <3


Matemática: Áreas das Principais Figuras Planas
Turma da Manhã: 10:15 às 11:15, com o professor PC Sampaio
Turma da Noite: 19:45 às 20:45, com o professor Alex Amaral
Faça download do material clicando aqui embaixo 😀
MATERIAL DE AULA AO VIVO
1. Para decorar a fachada de um edifício, um arquiteto projetou a colocação de vitrais compostos de quadrados de lado medindo 1 m, conforme a figura a seguir.
Nesta figura, os pontos A, B, C e D são pontos médios dos lados do quadrado e os segmentos AP e QC medem 1/4 da medida do lado do quadrado. Para confeccionar um vitral, são usados dois tipos de materiais: um para a parte sombreada da figura, que custa R$ 30,00 o m², e outro para a parte mais clara (regiões ABPDA e BCDQB), que custa R$ 50,00 o m².
De acordo com esses dados, qual é o custo dos materiais usados na fabricação de um vitral?
a) R$ 22,50
b) R$ 35,00
c) R$ 40,00
d) R$ 42,50
e) R$ 45,00
Gabarito
1. B
LISTA DE EXERCÍCIOS
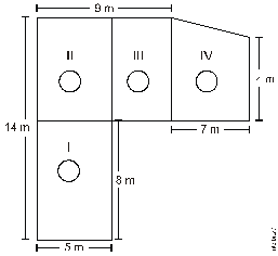
1. Jorge quer instalar aquecedores no seu salão de beleza para melhorar o conforto dos seus clientes no inverno. Ele estuda a compra de unidades de dois tipos de aquecedores: modelo A, que consome 600 g/h (gramas por hora) de gás propano e cobre 35 m2 de área, ou modelo B, que consome 750 g/h de gás propano e cobre 45 m2 de área. O fabricante indica que o aquecedor deve ser instalado em um ambiente com área menor do que a da sua cobertura. Jorge vai instalar uma unidade por ambiente e quer gastar o mínimo possível com gás. A área do salão que deve ser climatizada encontra-se na planta seguinte (ambientes representados por três retângulos é um trapézio).


Avaliando-se todas as informações, serão necessários
a) quatro unidades do tipo A e nenhuma unidade do tipo B.
b) três unidades do tipo A e uma unidade do tipo B.
c) duas unidades do tipo A e duas unidades do tipo B.
d) uma unidade do tipo A e três unidades do tipo B.
e) nenhuma unidade do tipo A e quatro unidades do tipo B.
2. Um forro retangular de tecido traz em sua etiqueta a informação de que encolherá após a primeira lavagem, mantendo, entretanto, seu formato. A figura a seguir mostra as medidas originais do forro e o tamanho do encolhimento (x) no comprimento e (y) na largura. A expressão algébrica que representa a área do forro após ser lavado é (5 – x) (3 – y).


Nessas condições, a área perdida do forro, após a primeira lavagem, será expressa por:
a) 2xy
b) 15 – 3x
c) 15 – 5y
d) –5y – 3x
e) 5y + 3x – xy
3. Para confeccionar uma bandeirinha de festa junina, utilizou-se um pedaço de papel com 10 cm de largura e 15 cm de comprimento, obedecendo-se às instruções abaixo.
1- Dobrar o papel ao meio, para marcar o segmento MN, e abri-lo novamente:


2- Dobrar a ponta do vértice B no segmento AB’, de modo que B coincida com o ponto P do segmento MN:
3- Desfazer a dobra e recortar o triângulo ABP.
A área construída da bandeirinha APBCD, em cm2, é igual a:
![]()
![]()


4. A figura 1 mostra uma pessoa em uma asa-delta
O esquema na figura 2 representa a vela da asa-delta, que consiste em dois triângulos isósceles ABC e ABD congruentes, com AC = AB = AD. A medida de AB corresponde ao comprimento da quilha. Quando esticada em um plano, essa vela forma um ângulo CÂD = 2è.
Suponha que, para planar, a relação ideal seja de 10 dm2 de vela para cada 0,5 kg de massa total. Considere, agora, uma asa-delta de 15 kg que planará com uma pessoa de 75 kg.
De acordo com a relação ideal, o comprimento da quilha, em metros, é igual à raiz quadrada de:
Gabarito
1. C
2. E
3. B
4. D


Redação 






